STM8S003F3P6
IC MCU 8BIT 8KB FLASH 20TSSOP
Features
Core
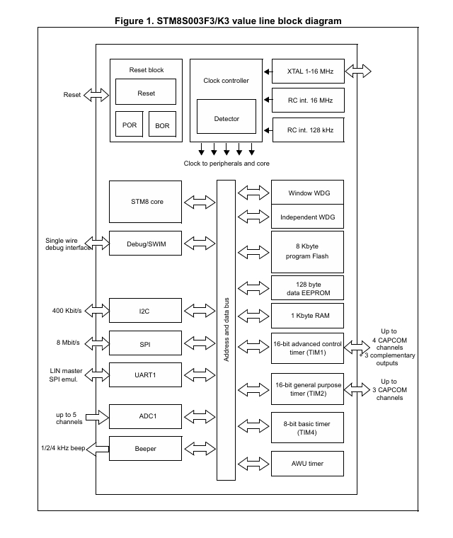
• 16 MHz advanced STM8 core with Harvard architecture and 3-stage pipeline
• Extended instruction set
Memories
• Program memory: 8 Kbyte Flash memory; data retention 20 years at 55 °C after 100 cycles
• RAM: 1 Kbyte
• Data memory: 128 bytes true data EEPROM; endurance up to 100 k write/erase cycles
Clock, reset and supply management
• 2.95 V to 5.5 V operating voltage
• Flexible clock control, 4 master clock sources
– Low-power crystal resonator oscillator
– External clock input
– Internal, user-trimmable 16 MHz RC
– Internal low-power 128 kHz RC
• Clock security system with clock monitor
• Power management
– Low-power modes (wait, active-halt, halt)
– Switch-off peripheral clocks individually
– Permanently active, low-consumption power-on and power-down reset
Interrupt management
• Nested interrupt controller with 32 interrupts
• Up to 27 external interrupts on 6 vectors
Timers
• Advanced control timer: 16-bit, 4 CAPCOM channels, 3 complementary outputs, dead-time insertion and flexible synchronization
• 16-bit general purpose timer, with 3 CAPCOM channels (IC, OC or PWM)
• 8-bit basic timer with 8-bit prescaler
• Auto wakeup timer
• Window and independent watchdog timers
Communications interfaces
• UART with clock output for synchronous operation, SmartCard, IrDA, LIN master mode
• SPI interface up to 8 Mbit/s
• I2C interface up to 400 Kbit/s
Analog to digital converter (ADC)
• 10-bit ADC, ± 1 LSB ADC with up to 5 multiplexed channels, scan mode and analog watchdog
I/Os
• Up to 28 I/Os on a 32-pin package including 21 high-sink outputs
• Highly robust I/O design, immune against current injection
Development support
• Embedded single-wire interface module (SWIM) for fast on-chip programming and non intrusive debugging
1 Introduction
This datasheet contains the description of the STM8S003F3/K3 value line features, pinout, electrical characteristics, mechanical data and ordering information.
• For complete information on the STM8S microcontroller memory, registers and peripherals, please refer to the STM8S and STM8A microcontroller families reference manual (RM0016).
• For information on programming, erasing and protection of the internal Flash memory please refer to the PM0051 (How to program STM8S and STM8A Flash program memory and data EEPROM).
• For information on the debug and SWIM (single wire interface module) refer to the STM8 SWIM communication protocol and debug module user manual (UM0470).
• For information on the STM8 core, please refer to the STM8 CPU programming manual (PM0044).
2 Description
The STM8S003F3/K3 value line 8-bit microcontrollers offer 8 Kbytes of Flash program memory, plus integrated true data EEPROM. They are referred to as low-density devices in the STM8S microcontroller family reference manual (RM0016).
The STM8S003F3/K3 value line devices provide the following benefits: performance, robustness and reduced system cost.
Device performance and robustness are ensured by true data EEPROM supporting up to 100000 write/erase cycles, advanced core and peripherals made in a state-of-the-art technology at 16 MHz clock frequency, robust I/Os, independent watchdogs with separate clock source, and a clock security system.
The system cost is reduced thanks to a high system integration level with internal clock oscillators, watchdog, and brown-out reset.
Full documentation is offered as well as a wide choice of development tools.

- LP8557IEVM_TI(德州仪器)中文资料_英文资料_价格_PDF手册
- LAUNCHXL-F28027F TI(德州仪器)中文资料_英文资料_价格_PDF手册
- DLPDLCR160CPEVM DLP160CP TI(德州仪器)中文资料_英文资料_价格_PDF手册
- THS4631DDAEVM TI(德州仪器)中文资料_英文资料_价格_PDF手册
- DAC3482EVM TI(德州仪器)中文资料_英文资料_价格_PDF手册
- THS4302EVM TI(德州仪器)中文资料_英文资料_价格_PDF手册
- ADS7038Q1EVM-PDK_TI(德州仪器)中文资料_英文资料_价格_PDF手册
- LM3450AEV230V30/NOPB_TI(德州仪器)中文资料_英文资料_价格_PDF手册
- TPS72728DSEEVM-406_TI(德州仪器)中文资料_英文资料_价格_PDF手册
- WL1835MODCOM8A_TI(德州仪器)中文资料_英文资料_价格_PDF手册
- TAS5424BQ1DKDEVM_TI(德州仪器)中文资料_英文资料_价格_PDF手册
- ADS7042EVM-PDK_TI(德州仪器)中文资料_英文资料_价格_PDF手册
- TMDS570LS31HDK_TI(德州仪器)中文资料_英文资料_价格_PDF手册
- VCA8500BOARD_TI(德州仪器)中文资料_英文资料_价格_PDF手册
- DEM-SOT223LDO_TI(德州仪器)中文资料_英文资料_价格_PDF手册
